DIN 315
DIN 315 er en DIN-standard for en vingemøtrik.
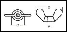
| Gevind | M4 | M5 | M6 | M8 | M10 | M12 | M14 | |
|---|---|---|---|---|---|---|---|---|
| A: | 4 | 5 | 6 | 8 | 10 | 12 | 14 | |
| B: | 20 | 26 | 33 | 39 | 51 | 65 | - | |
| C: | 8 | 11 | 13 | 16 | 20 | 23 | ca.26 |
| Gevind | M16 | M20 | |
|---|---|---|---|
| A: | 16 | 20 | |
| B: | 73 | 90 | |
| C: | 29 | 35 |

DIN 315
Kilde
- http://bolte.dk/vingemoetrikker-din-315/ Arkiveret 21. juli 2015 hos Wayback Machine
This article is issued from Wikipedia. The text is licensed under Creative Commons - Attribution - Sharealike. Additional terms may apply for the media files.