DIN 6912
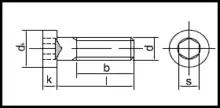
DIN 6912 er en DIN-Standard for en cylinder skrue.
| Gevind | M4 | M5 | M6 | M8 | M10 | M12 | M14 | M16 | |
|---|---|---|---|---|---|---|---|---|---|
| Gevindstigning | 0,7 | 0,8 | 1 | 1,25 | 1,5 | 1,75 | 2 | 2 | |
| Hoveddiameter | 7 | 8,5 | 10 | 13 | 16 | 18 | 21 | 24 | |
| Hovedhøjde | 2,8 | 3,5 | 4 | 5 | 6,5 | 7,5 | 8,5 | 10 | |
| Umbraco | 3 | 4 | 5 | 6 | 8 | 10 | 12 | 14 | |
| Fuld Gevind Indtil | 25 | 25 | 30 | 35 | 40 | 50 | 55 | 60 | |
| Nom. Gevindlængde | 20 | 22 | 24 | 28 | 32 | 36 | 40 | 44 | |
| l≤125 | 14 | 16 | 18 | 22 | 26 | 30 | 34 | 38 | |
| l>125 - ≤200 | 16 | 20 | 25 | 30 | 32 | 36 | 40 | 44 | |
| l>200 | - | - | - | - | - | - | - | 57 |
| Gevind | M18 | M20 | M22 | M24 | M27 | M30 | M33 | M36 | |
|---|---|---|---|---|---|---|---|---|---|
| Gevindstigning | 2,5 | 2,5 | 2,5 | 3 | 3 | 3,5 | 3 | 4 | |
| Hoveddiameter | 27 | 30 | 33 | 36 | 40 | 45 | 50 | 54 | |
| Hovedhøjde | 11 | 12 | 13 | 14 | 16 | 17,5 | 19,5 | 21,5 | |
| Umbraco | 14 | 17 | 17 | 19 | 19 | 22 | 24 | 27 | |
| Fuld Gevind Indtil | 65 | 70 | 70 | 80 | 90 | 100 | 100 | 110 | |
| Nom. Gevindlængde | 48 | 52 | 56 | 60 | 66 | 72 | 78 | 84 | |
| l≤125 | 42 | 46 | 50 | 54 | 60 | 66 | 72 | 78 | |
| l>125 - ≤200 | 48 | 52 | 56 | 60 | 66 | 72 | 78 | 84 | |
| l>200 | 61 | 65 | 69 | 73 | 79 | 85 | 91 | 97 |

DIN 6912
Kilde
- http://bolte.dk/din-6912-indv-6-kant-lav-ch/ Arkiveret 22. juli 2015 hos Wayback Machine
This article is issued from Wikipedia. The text is licensed under Creative Commons - Attribution - Sharealike. Additional terms may apply for the media files.