DIN 7991
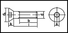
DIN 7991 er en DIN-standard for en undersænket skrue med hoved med indvendig sekskant (Unbrako-skrue).
| Gevind | M3 | M4 | M5 | M6 | M8 | M10 | M12 | |
|---|---|---|---|---|---|---|---|---|
| Gevindstigning | 0,5 | 0,7 | 0,8 | 1 | 1,25 | 1,5 | 1,75 | |
| Hoveddiameter dk: | 6 | 8 | 10 | 12 | 16 | 20 | 24 | |
| Hovedhøjde K: | 1,7 | 2,3 | 2,8 | 3,3 | 4,4 | 5,5 | 6,5 | |
| Nøglevidde S: | 2 | 2,5 | 3 | 4 | 5 | 6 | 8 | |
| Fuld gevind indtil | 20 | 25 | 30 | 35 | 40 | 40 | 50 | |
| l≤125 | 12 | 14 | 16 | 18 | 22 | 26 | 30 | |
| l>125 - ≤200 | - | - | - | 24 | 28 | 32 | 39 | |
| l>200 | - | - | - | - | - | 45 | 49 |
| Gevind | M14 | M16 | M18 | M20 | M22 | M24 | |
|---|---|---|---|---|---|---|---|
| Gevindstigning | 2 | 2 | 2,5 | 2,5 | 2,5 | 3 | |
| Hoveddiameter dk: | 27 | 30 | 30 | 36 | 36 | 39 | |
| Hovedhøjde K: | 7 | 7,5 | 8 | 8,5 | 13,1 | 14 | |
| Nøglevidde S: | 10 | 10 | 12 | 12 | 14 | 14 | |
| Fuld gevind indtil | 50 | 60 | 60 | 70 | 80 | 90 | |
| l≤125 | 34 | 38 | 42 | 46 | 50 | 54 | |
| l>125 - ≤200 | 40 | 44 | 48 | 52 | 56 | 60 | |
| l>200 | 53 | 57 | 61 | 65 | 69 | 73 |

DIN 7991
Kilde
This article is issued from Wikipedia. The text is licensed under Creative Commons - Attribution - Sharealike. Additional terms may apply for the media files.