DIN 94
DIN 94 er en DIN-standard for en split.

ISO 1234
DIN 94 bliver erstattet med ISO 1234.
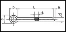
| Gevind | M1 | M1,2 | M1,6 | M2 | M2,5 | M3,2 | M4 | |
|---|---|---|---|---|---|---|---|---|
| Afstand a (min): | 0,8 | 1,25 | 1,25 | 1,25 | 1,25 | 1,6 | 2 | |
| Afstand b: | 3 | 3 | 3,2 | 4 | 5 | 6,4 | 8 | |
| Afstand c (min): | 1,8 | 2 | 2,8 | 3,6 | 4,6 | 5,8 | 7,4 | |
| Til Pinhole Ø: | 1 | 1,2 | 1,6 | 2 | 2,5 | 3,2 | 4 | |
| Til Skruer Ø: | 3,5 - 4,5 | 4,5 - 5,5 | 5,5 - 7 | 7 - 9 | 9 - 11 | 11 - 14 | 14 - 20 | |
| Til Bolte Ø: | 3 - 4 | 4 - 5 | 5 - 6 | 6 - 8 | 8 - 9 | 9 - 12 | 12 - 17 |
| Gevind | M5 | M5,5 | M6,3 | M8 | M10 | M13 | M16 | |
|---|---|---|---|---|---|---|---|---|
| Afstand a (min): | 2 | - | 2 | 2 | 3,2 | 3,2 | 3,2 | |
| Afstand b: | 10 | - | 12,6 | 16 | 20 | 26 | 32 | |
| Afstand c (min): | 9,2 | - | 11,8 | 15 | 19 | 24,8 | 30,8 | |
| Til Pinhole Ø: | 5 | 5,5 | 6,3 | 8 | 10 | 13 | 16 | |
| Til Skruer Ø: | 20 - 27 | 21 - 27 | 27 - 39 | 39 - 56 | 56 - 80 | 80 - 120 | 120 - 170 | |
| Til Bolte Ø: | 17 - 23 | 18 - 23 | 23 - 29 | 29 - 44 | 44 - 69 | 69 - 110 | 110 - 160 |
This article is issued from Wikipedia. The text is licensed under Creative Commons - Attribution - Sharealike. Additional terms may apply for the media files.