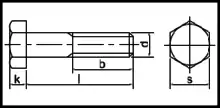
DIN 960
DIN 960 er en DIN-Standard for en bolt med metrisk fingevind.

DIN 960
DIN 960 bliver erstattet af ISO 8765.
| Gevind | M8X1 | M10X1 | M10X1,25 | M12X1,25 | M12X1,5 | M14X1,5 | |
|---|---|---|---|---|---|---|---|
| Gevindstigning | 1 | 1 | 1,25 | 1,25 | 1,5 | 1,5 | |
| Nøglevidde S: | 13 | 17 | 17 | 19 | 19 | 22 | |
| Hovedhøjde K: | 5,3 | 6,4 | 6,4 | 7,5 | 7,5 | 8,8 | |
| l≤125 | 22 | 26 | 26 | 30 | 30 | 34 | |
| l>125mm≤150 mm | 28 | 32 | 32 | 36 | 36 | 40 | |
| l>150mm≤200 mm | 41 | 45 | 45 | 49 | 49 | - |
| Gevind | M16X1,5 | M18X1,5 | M20X1,5 | M20X2 | M24X2 | |
|---|---|---|---|---|---|---|
| Gevindstigning | 1,5 | 1,5 | 1,5 | 2 | 2 | |
| Nøglevidde S: | 24 | 27 | 30 | 32 | 36 | |
| Hovedhøjde K: | 10 | 11,5 | 12,5 | 14 | 15 | |
| l≤125 | 38 | 42 | 46 | 46 | 54 | |
| l>125mm≤150 mm | 44 | 48 | 52 | 52 | 60 | |
| l>150mm≤200 mm | 57 | - | 65 | 65 | 73 |
Kilde
- http://bolte.dk/metrisk-fingevind-din-960 Arkiveret 28. maj 2015 hos Wayback Machine
This article is issued from Wikipedia. The text is licensed under Creative Commons - Attribution - Sharealike. Additional terms may apply for the media files.