Vandhane
En vandhane er et mindre udtag fra en vandledning på eller i et hus. Hanens dimension betyder, at der kun kan gennemstrømme en begrænset mængde vandhanevand. Inde i husstandene kan der tappes fra både en koldtvandsledning og en varmtvandsledning, mens det uden for sjældent er muligt at tappe andet end koldt vand.

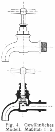
Ældre gennemskåret vandhane: Ved at dreje den lodrette pind kan vandgennemstrømningen reguleres
Hanen er udstyret med en form for studs/ventil, hvormed brugeren kan regulere vandudstrømningen og helt afbryde den.
Filtret, der sidder yderst på en vandhanes hals, kaldes en perlator.
En speciel type vandhane er blandingsbatteriet, hvor varmt og koldt vand blandes sammen via en regulering og føres ud ad samme udløbsrør. Blandingsbatterier sås allerede i Romerriget[1], og de er nu udbredte i moderne køkkener og badeværelser.
Se også
| | Søsterprojekter med yderligere information: |
Henvisninger
- P. A. C. Schut (2012), "Hot, cold or mixed? A Roman mixer tap from Hoogeloon (The Netherlands)", Scripta in honorem Bojan: 319-327, Wikidata Q106823262
| | Spire Denne artikel om maskiner, maskindele og apparater er en spire som bør udbygges. Du er velkommen til at hjælpe Wikipedia ved at udvide den. |
This article is issued from Wikipedia. The text is licensed under Creative Commons - Attribution - Sharealike. Additional terms may apply for the media files.