DIN 432

DIN 432 er en DIN-Standart for en sikkerhedsskive.
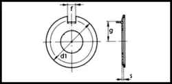
| Gevind | 4 | 5 | 6 | 8 | 10 | 12 | 14 | |
|---|---|---|---|---|---|---|---|---|
| Diameter d1: | 14 | 17 | 19 | 22 | 26 | 30 | 33 | |
| Bredde f: | 2,5 | 3,5 | 3,5 | 3,5 | 4,5 | 4,5 | 4,5 | |
| Afstand g: | 5,5 | 7 | 7,5 | 8,5 | 10 | 12 | 13 | |
| Højde s: | 0,4 | 0,75 | 0,75 | 1 | 1 | 1,2 | 1,2 |
| Gevind | 16 | 18 | 20 | 22 | 24 | 27 | 30 | |
|---|---|---|---|---|---|---|---|---|
| Diameter d1: | 36 | 40 | 42 | 50 | 50 | 58 | 63 | |
| Bredde f: | 5,5 | 6,5 | 6,5 | 7,5 | 7,5 | 8,5 | 8,5 | |
| Afstand g: | 15 | 18 | 18 | 20 | 21 | 23 | 25 | |
| Højde s: | 1,2 | 1,2 | 1,6 | 1,6 | 1,6 | 1,6 | 1,6 |
| Gevind | 33 | 36 | 39 | |
|---|---|---|---|---|
| Diameter d1: | 68 | 75 | 82 | |
| Bredde f: | 9,5 | 11 | 11 | |
| Afstand g: | 28 | 31 | 33 | |
| Højde s: | 1,6 | 2 | 2 |