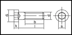
DIN 6912
DIN 6912 er en DIN-Standard for en cylinder skrue.
| Gevind | | M4 | M5 | M6 | M8 | M10 | M12 | M14 | M16 |
| Gevindstigning | | 0,7 | 0,8 | 1 | 1,25 | 1,5 | 1,75 | 2 | 2 |
| Hoveddiameter | | 7 | 8,5 | 10 | 13 | 16 | 18 | 21 | 24 |
| Hovedhøjde | | 2,8 | 3,5 | 4 | 5 | 6,5 | 7,5 | 8,5 | 10 |
| Umbraco | | 3 | 4 | 5 | 6 | 8 | 10 | 12 | 14 |
| Fuld Gevind Indtil | | 25 | 25 | 30 | 35 | 40 | 50 | 55 | 60 |
| Nom. Gevindlængde | | 20 | 22 | 24 | 28 | 32 | 36 | 40 | 44 |
| l≤125 | | 14 | 16 | 18 | 22 | 26 | 30 | 34 | 38 |
| l>125 - ≤200 | | 16 | 20 | 25 | 30 | 32 | 36 | 40 | 44 |
| l>200 | | - | - | - | - | - | - | - | 57 |
| Gevind | | M18 | M20 | M22 | M24 | M27 | M30 | M33 | M36 |
| Gevindstigning | | 2,5 | 2,5 | 2,5 | 3 | 3 | 3,5 | 3 | 4 |
| Hoveddiameter | | 27 | 30 | 33 | 36 | 40 | 45 | 50 | 54 |
| Hovedhøjde | | 11 | 12 | 13 | 14 | 16 | 17,5 | 19,5 | 21,5 |
| Umbraco | | 14 | 17 | 17 | 19 | 19 | 22 | 24 | 27 |
| Fuld Gevind Indtil | | 65 | 70 | 70 | 80 | 90 | 100 | 100 | 110 |
| Nom. Gevindlængde | | 48 | 52 | 56 | 60 | 66 | 72 | 78 | 84 |
| l≤125 | | 42 | 46 | 50 | 54 | 60 | 66 | 72 | 78 |
| l>125 - ≤200 | | 48 | 52 | 56 | 60 | 66 | 72 | 78 | 84 |
| l>200 | | 61 | 65 | 69 | 73 | 79 | 85 | 91 | 97 |