DIN 7991
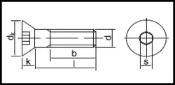
DIN 7991 er en DIN-standard for en undersænket skrue med hoved med indvendig sekskant (Unbrako-skrue).
| Gevind | | M3 | M4 | M5 | M6 | M8 | M10 | M12 |
| Gevindstigning | | 0,5 | 0,7 | 0,8 | 1 | 1,25 | 1,5 | 1,75 |
| Hoveddiameter dk: | | 6 | 8 | 10 | 12 | 16 | 20 | 24 |
| Hovedhøjde K: | | 1,7 | 2,3 | 2,8 | 3,3 | 4,4 | 5,5 | 6,5 |
| Nøglevidde S: | | 2 | 2,5 | 3 | 4 | 5 | 6 | 8 |
| Fuld gevind indtil | | 20 | 25 | 30 | 35 | 40 | 40 | 50 |
| l≤125 | | 12 | 14 | 16 | 18 | 22 | 26 | 30 |
| l>125 - ≤200 | | - | - | - | 24 | 28 | 32 | 39 |
| l>200 | | - | - | - | - | - | 45 | 49 |
| Gevind | | M14 | M16 | M18 | M20 | M22 | M24 |
| Gevindstigning | | 2 | 2 | 2,5 | 2,5 | 2,5 | 3 |
| Hoveddiameter dk: | | 27 | 30 | 30 | 36 | 36 | 39 |
| Hovedhøjde K: | | 7 | 7,5 | 8 | 8,5 | 13,1 | 14 |
| Nøglevidde S: | | 10 | 10 | 12 | 12 | 14 | 14 |
| Fuld gevind indtil | | 50 | 60 | 60 | 70 | 80 | 90 |
| l≤125 | | 34 | 38 | 42 | 46 | 50 | 54 |
| l>125 - ≤200 | | 40 | 44 | 48 | 52 | 56 | 60 |
| l>200 | | 53 | 57 | 61 | 65 | 69 | 73 |