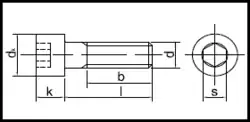
Steelbolt DIN 912
DIN 912 er en DIN-standard for en bolt.
En bolt DIN 912 er en af de mest brugte bolte inden for befæstelseområdet.
| Gevind | | M1,4 | M1,6 | M2 | M2,5 | M3 | M4 | M5 | M6 | M8 | M10 | M12 |
| Gevindstigning | | 0,3 | 0,35 | 0,4 | 0,45 | 0,5 | 0,7 | 0,8 | 1 | 1,25 | 1,5 | 1,75 |
| Hoveddiameter | | 2,6 | 3 | 3,8 | 4,5 | 5,5 | 7 | 8,5 | 10 | 13 | 16 | 18 |
| Hovedhøjde | | 1,4 | 1,6 | 2 | 2,5 | 3 | 4 | 5 | 6 | 8 | 10 | 12 |
| Unbrako | | 1,3 | 1,5 | 1,5 | 2 | 2,5 | 3 | 4 | 5 | 6 | 8 | 10 |
| Fuld Gevind Indtil | | 12 | 16 | 20 | 25 | 20 | 25 | 25 | 30 | 35 | 40 | 50 |
| Nom. Gevindlængde | | 14 | 15 | 16 | 17 | 18 | 20 | 22 | 24 | 28 | 32 | 36 |
| Gevind | | M14 | M16 | M18 | M20 | M22 | M24 | M27 | M30 | M33 | M36 | M42 |
| Gevindstigning | | 2 | 2 | 2,5 | 2,5 | 2,5 | 3 | 3 | 3,5 | 3 | 4 | 4,5 |
| Hoveddiameter | | 21 | 24 | 27 | 30 | 33 | 36 | 40 | 45 | 50 | 54 | 63 |
| Hovedhøjde | | 14 | 16 | 18 | 20 | 22 | 24 | 27 | 30 | 33 | 36 | 42 |
| Unbrako | | 12 | 14 | 14 | 17 | 17 | 19 | 19 | 22 | 24 | 27 | 32 |
| Fuld Gevind Indtil | | 55 | 60 | 65 | 70 | 70 | 80 | 90 | 100 | 100 | 110 | 130 |
| Nom. Gevindlængde | | 40 | 44 | 48 | 52 | 56 | 60 | 66 | 72 | 78 | 84 | 96 |
| Gevind | | M48 | M56 | M64 |
| Gevindstigning | | 5 | 6,5 | 6 |
| Hoveddiameter | | 72 | 84 | 96 |
| Hovedhøjde | | 48 | 56 | 64 |
| Unbrako | | 36 | 41 | 46 |
| Fuld Gevind Indtil | | 150 | 160 | 180 |
| Nom. Gevindlængde | | 108 | 124 | 140 |