Tesla-ventil

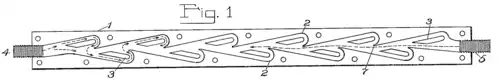
* Fluidet kan let strømme fra højre mod venstre.
* Når fluiden forsøges sendt fra venstre mod højre, vil fluiden deles i to - i hver ventil-celle - og krumningen i en ventilcelle, vil dirigere fluidet lige imod sin anden halvdel - og herved udøve stor fluidstrømningsfriktion.
En Tesla-ventil[1] er en ventil som tillader en fluid primært at flyde/strømme i én retning gennem sig - og det er uden bevægelige dele som typisk findes i traditionelle ventiler.
Det anvendte princip er, at strømmen flyder ad forskellige veje i de to hovedretninger - og at disse forskellige veje har en betydelig retningsbestemt effekt på ventilens strømningsmodstand. Tesla-ventilen er opkaldt efter Nikola Tesla, som opfandt den i 1916 og fik den patenteret i 1920.[2] I praksis er ideen kun blevet udviklet lidt siden dens opfindelse.
Ifølge denne artikel[3] vil:
- to Tesla-ventil celler/segmenter have et trykforhold på 15 gange.
- fire Tesla-ventil celler/segmenter have et trykforhold på ca. 41 gange.
- elleve Tesla-ventil celler/segmenter formodentlig have et trykforhold på 200 gange. (Teslas patent design).
Strukturer med Tesla-ventil funktion i hajers tarmsystem
I 2021 blev det offentliggjort i Proceedings of the Royal Society B, at man har fundet spiralformede strukturer i hajers tarmsystem, som ser ud til at fungere som Tesla-ventiler. De spiralformede strukturer blev fundet via 3D-skanning.[4][5]
Kilder/referencer
- ↑ Sean Michael Ragan. "The Tesla Valve: One Way Flow With No Moving Parts". 2012.
- ↑ U.S. patent 1,329,559 (Webside ikke længere tilgængelig)
- ↑ 10/23/2013, fluidpowerjournal.com: Tesla’s Valvular Conduit Arkiveret 2. april 2015 hos Wayback Machine Citat: "...How does this CFD model of the device measure up? The first simulations were actually half the length of the ones pictured (only two segments). In this case, the resistance in the blocking direction was 15 times greater than the unimpeded direction (4.79 kPa vs. 0.318 kPa). For the four-segment version pictured, the ratio was a whopping 40.8 (23.7 kPa vs. 0.581 kPa). The illustration in Tesla’s patent included a total of 11 segments. While I did not model the full version, it seems plausible that a pressure ratio of 200 could be achieved..."
- ↑ July 20, 2021, scitechdaily.com: Amazing New 3D Images of Shark Intestines Show They Function Like Nikola Tesla’s Valve Citat: "...From their scans, the researchers discovered several new aspects about how shark intestines function. It appears these spiral-shaped organs slow the movement of food and direct it downward through the gut, relying on gravity in addition to peristalsis, the rhythmic contraction of the gut’s smooth muscle. Its function resembles the one-way valve designed by Nikola Tesla more than a century ago that allows fluid to flow in one direction, without backflow or assistance from any moving parts...", backup
- ↑ 21 July 2021, Proceedings of the Royal Society B: Shark spiral intestines may operate as Tesla valves Citat: "...Flow rate was slowed significantly more when the two funnel-shaped spiral intestines were subjected to flow in the posterior to anterior direction, indicating their success at producing unidirectional flow, similar to a Tesla valve..."
- "Simulation and Optimization of Tesla Valves", T-Q Truong and N-T Nguyen, Nanotech 2003 Vol. 1 Technical Proceedings of the 2003 Nanotechnology Conference and Trade Show, Volume 1, ISBN 0-9728422-0-9
Se også
- En Tesla-ventil lignende fluid-mekanisme anvendes til at blande i lille skala, ved hjælp af en Coanda-effekt blander.
- Coanda-effekt
Eksterne henvisninger
- Youtube: 3D Printed Tesla Valve
- Youtube: The Tesla Valve
| Spire Denne artikel om maskiner, maskindele og apparater er en spire som bør udbygges. Du er velkommen til at hjælpe Wikipedia ved at udvide den. |